Кровля из профнастила примыкания. Обустройство примыкания кровли из профнастила
- Кровля из профнастила примыкания. Обустройство примыкания кровли из профнастила
- Узел примыкания кровли к стене. Уязвимость узлов примыкания
- Планка примыкания кровли к стене. Конструкции планок и технологии монтажа
- Планка примыкания для мягкой кровли. Что такое планка примыкания?
- Примыкание кровли к кровле. Обустройство примыканий к стене
- Примыкание крыши веранды к дому. Разновидности крыш и кровель
- Планка примыкания для профнастила. Элемент #3 — планки примыкания
- Примыкание кровли к парапету
Кровля из профнастила примыкания. Обустройство примыкания кровли из профнастила
Наиболее слабое место любой кровли – это примыкание к стене. Вероятность затекания воды здесь достаточно высока; при этом тип кровельного материала неважен.
Для каждого его вида существует специальная технология, обеспечивающая герметичность стыка. Примыкание кровли в виде профнастила к стене также имеет свои особенности.

Для оформления примыканий профилированного металла используется специальная стыковая планка (ПС1, ПС2), изотавливаемая из профлиста.
Типы примыканий к стене и их оформление
Стыкование кровли со стеной может быть двух типов – верхнее и боковое. При обустройстве кровли наверняка придется столкнуться с проблемой оформления таких строительных элементов, как дымоходы, вентиляционные трубы, навесы, козырьки, стены. Именно в таких местах и собирается талая или дождевая вода. Помимо этого, в местах примыканий может скапливаться мусор в виде листвы, веток. Все это способствует накоплению снега в зимний период. В результате нагрузка на места примыканий увеличивается многократно.
Для оформления примыканий профилированного металла используется специальная стыковая планка (ПС1, ПС2), изотавливаемая из профлиста. О правильном обустройстве места стыка профнастила со стеной следует позаботиться уже на стадии монтажа кровельного материала. Его нельзя укладывать впритык к стене – необходимо оставить вентиляционный зазор в 2-3 см. На стыковую планку нужно наклеить специальный уплотнитель (обычно он идет в комплекте со стыковой планкой). Далее в стене необходимо проштробить канавку на глубину 2,5 см. Наклеенный уплотнитель должен плотно входить в канавку. Остается закрепить планку к стене посредством саморезов, если поверхность деревянная, или дюбелей, если стена сделана из камня, кирпича. К профнастилу планка крепится посредством тех же саморезов, вворачиваемых в верхнюю волну. Перехлест планки и профнастила должен быть не менее 10 см. Сделанную в стене штробу необходимо замазать силиконовым герметиком.
Узел примыкания кровли к стене. Уязвимость узлов примыкания
Примыкание кровли к кирпичной или монолитной стене представляет собой достаточно уязвимое место. Как раз здесь собирается занесенный воздушными потоками сор. В нем очень часто содержится большое количество воды, которая пагубно влияет на площадь соприкосновения, выводя из строя гидроизоляционный и кровельный стройматериал.
Это происходит из-за регулярных замерзаний и оттаиваний воды, что сначала ведет к деформации материала, а затем к его порче. Также в холодную пору года возле стеновых конструкций собираются снежные массы, которые способствуют образованию протечек.
Герметизация примыкания кровли и стеновых конструкций – очень важный процесс, поэтому решением этого вопроса занимаются еще на этапе составления проектной документации. Например, если планируется возведения здания из кирпича, то проектом может предусматриваться специальный козырек длиной в полкирпича, который сможет закрыть будущий стык крыши и стеновой конструкции.

Примыкание кровли из черепицы к стене
Также на этапе кладке кирпича строители могут оставить специальную выемку, в которую в последнюю очередь заводится лист кровельного материала.
Важно знать! Как герметизация, так и утепление примыкания проводится с использованием различных стройматериалов и технологий. Для каждого типа кровельного покрытия существует отдельная методика.
В современном мире принято условно делить все стыки на следующие виды:
- боковой;
- верхний.
И в первом, и во втором варианте допустимо использование стыковых элементов ВС-1 и ПС-2.
Планка примыкания кровли к стене. Конструкции планок и технологии монтажа
Для начала рассмотрим технологию монтажа профнастила и металлочерепицы, которая предусматривает устройство стыков с внутренним и внешним фартуками:- Перед началом укладки кровельного покрытия вокруг дымохода укладывается внутренний фартук с использованием нижних планок. Их конструкция отличается от верхних наличием продольных отгибов кромки.
- Сначала укладывается деталь с низкой стороны (под трубой), затем боковые и в последнюю очередь сверху (над трубой). Отгиб кромки направлен вверх для того, чтобы создать преграду для влаги. Снизу устраивается водоотводящий галстук – лист с загнутыми краями.
- Каждая планка сначала прикладывается к стене, на которой отмечается ее верхний край. По этой полосе пробивают штробу. Ее очищают от пыли, заводят в нее отгиб кромки вертикальной части и заполняют герметиком. Горизонтальная и вертикальная часть детали крепится к обрешетке и стене саморезами.
- Далее укладывается покрытие кровли.
- Поверх листов профнастила и металлочерепицы в том же порядке укладывается внешний фартук. Конструкция планки – уголок без загибов кромки.
Видео:
Такая технология достаточно надежная, но, с другой стороны, предусматривает дополнительный расход металла. Поэтому часто используется технология укладки одного фартука: 
- Вначале кладется покрытие кровли. Лист профнастила или металлочерепицы не укладывается на всю длину ската крыши, а только до верхнего края трубы.
- Поверх листов кладется нижний фартук (верхняя планка), затем боковые детали и в последнюю очередь верхний фартук (нижняя планка). Поверхность кирпичной кладки штробится для устройства отгиба на вертикальной части. После монтажа планок все швы замазываются герметиком. В качестве крепления используются саморезы.
- Кладется часть листа профнастила или металлочерепицы на оставшуюся часть крыши от конька до верхнего края трубы.
Совершенно отличаются планки при устройстве кровли из мягкой битумной черепицы или рулонных материалов. 
- Примыкание к дымоходам и парапетам крыши начинается с устройства треугольной рейки, которая поднимет край кровельного ковра для создания контруклона, он является естественной преградой для осадков.
- Далее монтаж покрытия кровли. В угловой стык поверх черепицы укладывается ендовый ковер.
- Планка защищает только верхний край примыкания от попадания влаги между кирпичной кладкой и кровельным материалом. С одного конца она отгибается под углом 45о в сторону стены, с другого конца изгибается в виде капельника. Для дополнительной гидроизоляции применяется силиконовый герметик.
Планка примыкания для мягкой кровли. Что такое планка примыкания?
Обычно доборные элементы занимают не более 3% площади скатной крыши частного дома, однако, именно от их правильного выбора и применения зависит герметичность и надежность конструкции.
Планка примыкания относится к доборным элементам кровли и используется там, где участок должен защищаться от проникновения влаги из-за того, что он примыкает к вертикальной поверхности.
Она применяется там, где кровля присоединяется к вентиляционной требе, дымоходу, стене здания, карнизной доске. Планка физически прикрывает место излома, чтобы вода не попадала туда. У доборных элементов планки примыкания следующие функции:
- Гидроизоляционная . Планка примыкания укладывается в местах сопряжения кровли с вертикальными поверхностями в первую очередь, чтобы защитить этот участок от затекания дождевой или талой влаги. Именно в таких местах скапливается больше всего снега и воды, поэтому без дополнительной гидроизоляции протечки практически неизбежны.
- Теплоизоляционная . Кромки кровельного материала не могут плотно прилегать к поверхности стен дома или трубах, проходящим через крышу, поэтому через эти щели происходят ощутимые теплопотери. Для предотвращения проникновения холода можно использовать металлические уголки, которые закроют собой зазоры.
- Эстетическая . В местах прохода труб через кровлю остается довольно неэстетичный, неаккуратный стык, планка примыкания может устранить этот недочет, улучшив внешний вид готовой крыши.
Примыкание кровли к кровле. Обустройство примыканий к стене
Во время монтажа кровли все примыкания следует тщательно загерметизировать. Процесс герметизации проводится по разным технологиям и зависит от конкретного вида кровельного покрытия.
При наличии кровли на основе рулонных материалов можно использовать несколько методов.
- Флэшинг
Данный способ состоит в нанесении на места примыканий пластичной мастики в сочетании с особым армирующим геотекстилем. При применении данной методики можно получить абсолютно герметичный, прочный и эластичный стык, который к тому же не теряет своих качественных характеристик на протяжении длительного времени.
Способ этот настолько простой, что работы можно проводить самостоятельно, без помощи профессионалов. До того как наносить мастику, надо тщательно подготовить поверхность.
При применении рулонных материалов их очищают от посыпки. Поливинилхлорид следует обезжирить, бетон промазать праймером, а кладку из кирпича оштукатурить и основательно просушить.
Все места будущих стыков надо очистить от пыли и любых загрязнений. Если есть крупные щели и сколы, их надо замазать. Только после тщательной подготовки поверхности на нее можно наложить слой мастики.
Сверху укладывают геотекстиль, который снова накрывают слоем мастики. После нанесения одного слоя надо подождать не менее 3 часов и не более 24 – до нанесения следующего пласта. Дождавшись полного высыхания обработанного участка, можно сверху накладывать мастику соответствующего цвета.
- Крепление при помощи рейки с саморезами
При использовании данного метода место примыкания кровли к стене устраивается следующим образом: на участок стыка рейки со стеной накладывается силиконовый герметик. Рулонное кровельное покрытие надо поднять на стену примерно на 15-20 см.
Необходимо следить за тем, чтобы на месте стыка не появлялась впадина, которая в дальнейшем может грозить прорехой. Чтобы избежать этого, между стеной и поверхностью кровли следует установить брусок треугольной формы и уложить слой дополнительной теплоизоляции. Образующийся при этом валик является профилактикой возможного прорыва материала и дополнительно утепляет участки примыкания.
Примыкание крыши веранды к дому. Разновидности крыш и кровель
Продуманная эстетика благоустроенного дома воздает позитивный имидж владельца дома, говорит о его хорошем вкусе, создает неизгладимое впечатление о дизайне строения. Когда крыша пристройки к дому максимально соответствует общему архитектурному замыслу дома, то и кровельный материал должен быть единым. Исключение составляют стеклянные пристройки для оранжереи или обеденной зоны с видом на сад или ландшафтный дизайн. Тогда и для крыши можно подобрать прозрачный кровельный материал, не зависимо от того, каким было основное строение – крыши пристроек к дому фото.

Важно разграничить терминологию:
- крыша – это верхняя конструкция строения, имеющая функции гидро- и теплоизоляции;
- кровля – это верхнее декоративное покрытие для защиты крыши от атмосферных явлений.
Выбор кровли для пристройки и общая конструкция сооружения крыши напрямую зависит от:
- функций вспомогательного помещения;
- общей архитектуры основной постройки;
- строительных материалов стен и крыши дома;
- уклона плоскости;
- предполагаемых затрат на пристройку.
Если нет возможности сделать основную крышу и пристроечную из общих кровельных материалов, важно заранее продумать общую эстетику и стилистику. Чем больше кровельные материалы похожи или взаимодополняют друг друга, тем интереснее будет смотреться внешний облик всей постройки. Иногда пристройку планируют таким образом, что она является очевидным украшением и оригинальным дополнением основного строения. Когда проект строительства продуман до мелочей, то основная кровля как бы перетекает вниз на веранду или крытую террасу таким образом, что они образуют единое целое. Крыши бывают:
- односкатные и двускатные;
- однокаскадные и многокаскадные;
- крутые и покатые;
- вальмовые и полувальмовые;
- шатровые и куполообразные;
- складчатые и шпилеобразные;
- плоские и многощипцовые;
- чердачные и потолочные.

Сложные разновидности используют для соответствия особому архитектурному стилю, например, готика или классицизм. Крышу к пристройке частного дома редко делают сложной конструкции, и чаще всего это односкатная крыша пристройки к дому с небольшим уклоном в сторону от несущей стены основной постройки. Ее можно сделать разными способами, но изначально важно наметить:
- общую конструкцию пристройки;
- выбор кровельного материала;
- конструктивные особенности крыши;
- будут она чердачная или потолочная;
- предусмотреть гидроизоляцию и утепление;
- решить, в какой бюджет необходимо вложиться.
Пристройка к дому, сделанная своими руками, чаще всего предполагает односкатную бесчердачную крышу с небольшим уклоном. Но и у бесчердачных крыш есть свои разновидности, в зависимости от гидро- и теплоизоляции:
- вентилируемые наружными потоками воздуха покатые крыши;
- частично вентилируемые;
- невентилируемые (когда исключено накопление влаги и конденсата).
Внимание: Плоскую крышу сделать проще всего, но большинство проектов пристроек предполагает небольшой угол наклона – 20-45° градусов. Он необходим для того, чтобы осадки не скапливались на кровле – большое количество снега создает внушительное давление, что может привести к обрушению крыши!
При обустройстве крыши важно, чтобы примыкающий элемент конструкции пристройки плотно прилегал к стене здания или заходил под его крышу, предотвращая попадания влаги между ними и под кровельные материалы.

Планка примыкания для профнастила. Элемент #3 — планки примыкания
Планки для устройства примыканий закрывают просветы и стыки смежных скатных плоскостей, установленных под разным углом или выполненных из различающихся по техническим качествам материалов. С их помощью обустраивают все, что можно обобщенно назвать переходами и проходами через кровлю, это:
- Обводы сложенных из кирпича дымоходных труб.
- Параллельные коньковому прогону выпуклые и вогнутые ребра мансардных крыш и сложноустроенных полувальмовых кровельных конструкций.
- Примыкания плоских и односкатных крыш к вертикальным стенкам постройки.
В принципах установки планок примыкания есть некоторые различия. Обвод вокруг кирпичной дымовой трубы, к примеру, проводится по схеме, схожей с устройством ендовы. Система защиты тоже состоит из двух составляющих: нижней и верхней. По аналогии нижний обвод сооружается перед кровлей крыши профлистом. Только в этом случае нижнюю планку может заменить Вакафлекс или свинцовые полосы.

Нижние планки примыкания на кирпичную стену или стенки дымохода устанавливаются поверх дополнительного гидроизоляционного ковра. Их верхняя кромка заводится в штробы глубиной примерно 1,5 см. На нижнюю обводку дымовой трубы наклеивается уплотнитель, затем укладывают покрытие, а после укладки финишного покрытия все закрывают верхним обводом.
Обустройство примыканий к стенам не требует сооружения двухслойной металлической защиты. Вместо нижней металлической планки на обрешетку и смежную вертикальную поверхность попросту наклеивают полосы дополнительной гидроизоляции вдоль линии состыковки.

При обустройстве большой площади планки примыканий укладываются с нахлестом не менее 10 см. Крепление доборных элементов производится поверх установленного профлиста в двух плоскостях. На кровле фиксируют саморезами 1,9 × 4,8 мм, поставленными с шагом 40 см. Верх планок заводят в штробы, выбранные на глубину 1,5 см вертикальной кирпичной стене.

Второй способ устройства примыкания к стенам постройки предполагает фиксацию планки по той же схеме, но с маскировкой верха добора обшивкой стены. Так поступают, если нет технической возможности завести верх детали в стену. Например, при обустройстве каркасных построек или бревенчатых домов.
Металлические планки для ребер внешних и внутренних углов выполняют после частичного монтажа профилированного покрытия. Сначала листы укладывают на нижнюю часть ската ломаной крыши, затем устанавливают планку примыкания, наклеивают уплотнитель и накрывают профнастилом вышележащей части ската.
Всегда следует соблюдать один и тот же принцип: укладка и крепление основных элементов и доборов должна производиться так, чтобы вышележащая деталь кровли перекрывала нижнюю. Тогда будет обеспечен беспрепятственный сток осадков без затекания их в чувствительное к влаге подкровельное пространство.

Примыкание кровли к парапету

Примыкание мягкой кровли к парапету требует усиленной гидроизоляции и особого конструктивного решения.
Галтель
Рулонное кровельное покрытие обязательно монтируется с заходом на вертикальную поверхность. Но, если укладывать материал без монтажа специальной опоры в месте сопряжения вертикальной (стенка парапета) и горизонтальной (поверхность кровли) плоскостей, то под кровельным ковром образуется полость. А это обязательно приведет к риску случайных механических повреждений кровельного ковра на данном участке и нарушению герметичности водоизоляционного покрытия.
Чтобы избежать проблем, связанных с порчей кровельного покрытия в процессе очистки кровли или эксплуатации крыши, между основанием крыши и парапетом выполняется бортик, представляющий собой узел сопряжения смежных плоскостей шириной и высотой около 10 сантиметров и радиусом 45 градусов. Этот бортик называется «галтель» Для его устройства используется цементно-песчаный раствор. Такой бортик позволяет обеспечить плотное прилегание рулонного материала по всей плоскости и помогает избежать механических повреждений и разрывов кровельного ковра из битумно-полимерных рулонных материалов в местах примыканий к стенам, парапетам, вентиляционным шахтам, трубам и дымоходам. В среднем для создания каменной галтели из цементной смеси в смету закладывается от 0,6 до 1 куба раствора на 100 метров примыкания.

Обустройство примыкания
В местах примыкания к парапетам основной кровельный ковер усиливается не менее, чем четырьмя слоями рулонного наплавляемого гидроизоляционного материала. Торцевые стыки полотнищ, накладываемых на парапет и кровлю, должны перекрываться не менее чем на 150 мм. Продольный нахлест полотнищ гидроизоляции между собой – 200-300 мм. Полотнище верхнего слоя в местах примыкания следует располагать так, чтобы швы нахлестки располагались по направлению ветра.

Первый слой гидроизоляции плотно приклеивается к основанию крыши, галтели и стенке парапета. После остывания приклеивается второй слой гидроизоляции. При этом верхний край материала заводится, в одном случае, в канавку в кирпичной кладке и закрепляется прижимной планкой из металла, к которой крепится и металлический верхний фартук. Прижимная планка прибивается к кирпичной стене дюбелями и обрабатывается герметиком, после чего красится краской устойчивой к атмосферным осадкам.
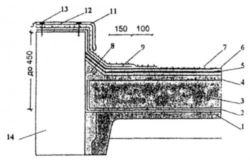
Схема 1. Примыкание кровли к парапету высотой до 450 мм

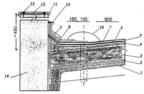
Схема 2. Примыкание кровли к парапету высотой более 450 мм

На схемах: 1 — сборная железобетонная плита покрытия; 2 — пароизоляция (по расчету); 3 — теплоизоляция; 4 — выравнивающая стяжка; 5 — нижний слой основного кровельного ковра; 6 — верхний слой основного кровельного ковра; 7 — крупнозернистая посыпка; 8 — наклонный бортик; 9 — слои дополнительного кровельного ковра; 10 — воронка внутреннего водостока; 11 — оцинкованная кровельная сталь; 12 — костыли 40×4 через 600 мм; 13 — дюбели; 14 — стена; 15 — герметизирующая мастика
В другом случае, показанном на схеме 2 , при низком парапете, рубероид заводится непосредственно на верхнюю часть кирпичного парапета, приклеивается горячим битумом и после этого закрывается металлическим фартуком или парапетными плитами.
Металлические фартуки крепят к костылям. Костыли к парапету пристреливают дюбелями. Щель между фартуками и стеной зачеканивают герметизирующей мастикой. Сверху мастика должна быть защищена цементным раствором или окрашена краской.
Особое внимание при гидроизоляции участков с парапетами следует уделить устройству внутренних и внешних углов.
На схеме 3 представлена раскладка и раскрой полотнищ наплавляемого рулонного материала при устройстве дополнительного кровельного ковра на поверхности внутреннего угла.

На схеме изображено: А, Б, В, Г — последовательность операций; 1 — парапет; 2 — основной кровельный ковер; 3 — переходный наклонный бортик; 4 — нижний слой дополнительного ковра; 5 — верхний слой (с крупнозернистой посыпкой) дополнительного ковра.
